Apple запатентовала смартфон с панорамным экраном
Когда в 2007 году вышел первый iPhone, многие производители ещё экспериментировали с дизайном телефонов, выпуская «раскладушки», «слайдеры», «флипы» и даже экзотические «ротаторы». Теперь де-факто стандартом для смартфонов является безликий «кирпичик» с сенсорным экраном на лицевой панели и кнопками на боковых гранях. Компания Samsung первой решилась «растянуть» дисплей в ширину на модели Galaxy Edge, но Apple, похоже, собирается пойти дальше и выпустить смартфон, представляющий собой, фактически, один большой сенсорный дисплей.
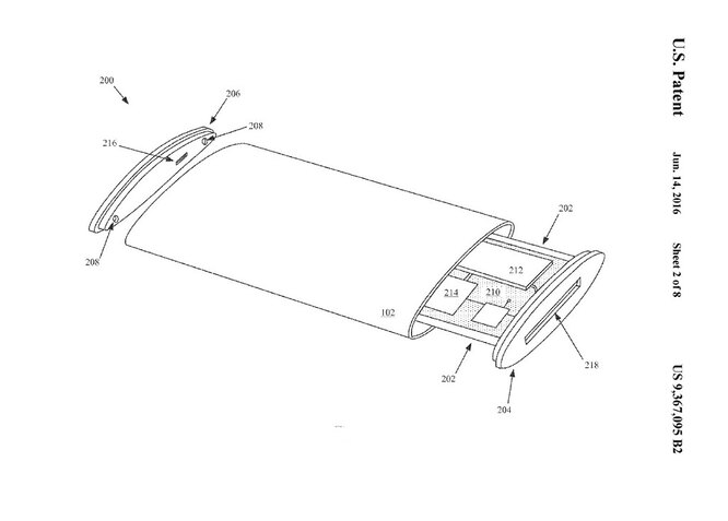
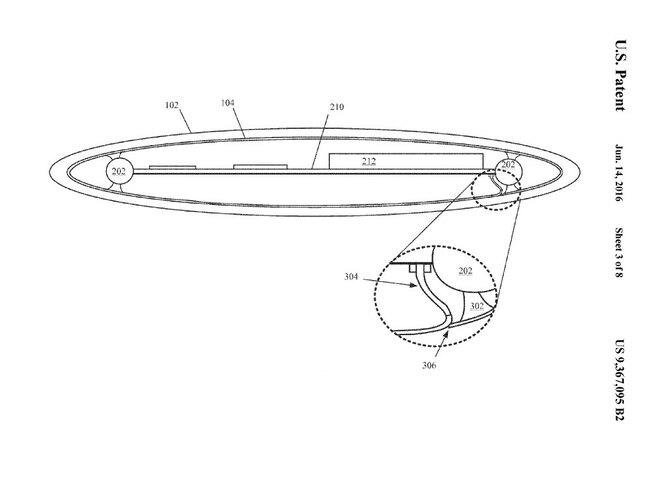
Согласно патентной заявке, сенсорный дисплей буквально опоясывает смартфон, занимая не только лицевую, но и заднюю панели, а также боковые секции. Таким образом Apple надеется расширить функциональные возможности на все поверхности устройства и лишить его физических кнопок. Предполагается, что расширение экрана в ширину позволит также размещать на нем не четыре, а пять иконок в ряд. Превратится ли патент в будущий iPhone, покажет время.




