Два ее новых патента нашел редактор CycleWorld. Каждый описывает отдельную систему, но логика изобретателей идентична.
«Да ладно!» Новый глушитель Yamaha будет управлять мотоциклом

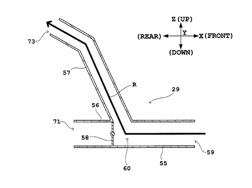
В первом случае, в выхлопную трубу предлагается встроить клапан-бабочку (см. элемент 58 на левом рисунке ниже). Если мотоциклист резко поворачивает рукоять газа, клапан закрывает трубу, и поток газов уходит в трубу меньшего сечения, направленную назад и вверх. За счет малого сечения, газы ускоряются и вырываются с большей скоростью, создавая эффект тяги, подобно реактивным двигателям самолетов. Толкая мотоцикл вниз, они прижимают его к дороге и не дают встать на заднее колесо, помогая водителю удержать машину под контролем.
Вторая система работает аналогично, но выхлопные газы направляются не вверх, а прямо вниз. Она работает в поворотах, когда мотоцикл сильно наклоняется: за счет наклона, газы толкают его в сторону поворота, помогая преодолеть центробежную силу.
Подождите, но...
Знающие читатели сразу заметят пару спорных моментов. Во-первых, меньшее сечение труб означает, что газы будут проходить с повышенным сопротивлением и «душить» двигатель, не давая ему развить полную мощность. Однако в моменты ускорения и поворота мотоциклист все равно не может выжать все силы из мотора, объясняет CycleWorld – его ограничивает сила сцепления колес с асфальтом. Значит, есть резерв энергии, коорый можно направить на повышение устойчивости.
Интуиция еще подсказывает, что выхлопные газы ДВС не дадут сколько-нибудь солидной тяги. Возможно, это так, и Yamaha пока продемонстрировала только идею, а не воплощение. Однако надо учесть, что правила таких известных мотогонок, как MotoGP и WSBK, скоро изменятся: аэродинамические прижимные элементы будут запрещены. И теперь мотопроизводители ищут хоть какую-то альтернативу.
Пусть и небольшой, но есть шанс, что когда-нибудь такие системы появятся и в дорожных мотоциклах. Учитывая, как часто байкеры попадают в аварии, можно считать полезными любые улучшения в части безопасности двухколесников.



